Трубка охлаждающей жидкости Howo, Sitrak MC11, MC13

200V06302-0657
В наличии Мало
Рейтинг 0
Нет отзывов

Трубка охлаждающей жидкости Howo, Sitrak MC11, MC13

Цена по запросу
200V06302-0657 Трубка охлаждающей жидкости для двигателя Howo, Sitrak MC11, MC13
Описание

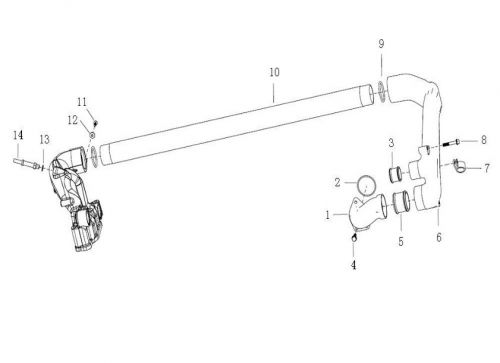
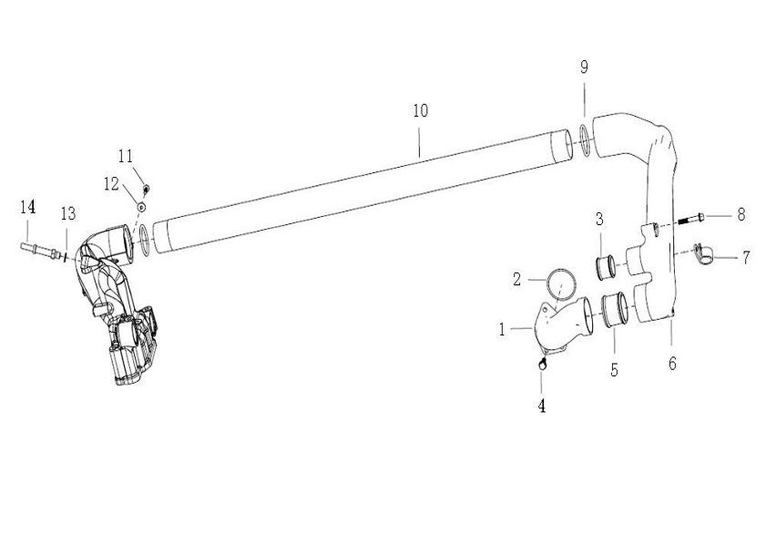
Трубка охлаждающей жидкости для двигателя Howo, Sitrak MC11, MC13 200V06302-0657 (Номер на чертеже 1)

Характеристики
Part. №
200V06302-0657
Модель двигателя
MC11
Модель двигателя
MC13
Модель техники
Howo 70
Тип техники
Карьерный самосвал
Условия доставки
1Курьером
Доставка курьером производится в пределах МКАД
Стоимость доставки зависит от суммы заказа
Для заказов больше 3 000 рублей - доставка 150 рублей
Для заказов больше 5 000 рублей - доставка 0 рублей
Для заказов меньше 3 000 рублей - доставка 300 рублей
Отзывы
0
На основании 0 отзывов
5 Звезд
4 Звезды
3 Звезды
2 Звезды
1 Звезда
Оставьте отзыв!
Вы приобрели товар? Поделитесь своим мнением с другими и возможно вы поможете кому-то сделать правильный выбор!
Ваша оценка:
WhatsApp